Gestaltung von Durchgangslöchern und Senkungen für Schrauben und Muttern
In diesem Artikel wird die korrekte Gestaltung von Durchgangslöchern und Senkungen für Schrauben und Muttern behandelt.
Gestaltung von Durchgangslöchern und Senkungen für metrische Schrauben und Muttern
Hier einige Referenzartikel, welche zur Berechnung der Senkung benötigt werden:
Gestaltung von Schrauben
Gestaltung von Muttern
Gestaltung von Scheiben
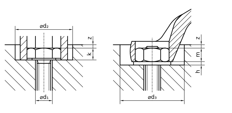
Durchgangslöcher und Senkungen Sechskantschrauben und Muttern

Durchgangslöcher und Senkungen Zylinderschrauben

Durchgangslöcher und Senkungen Senkschrauben
